OPPO è una delle aziende che deposita il maggior numero di brevetti ogni anno e di conseguenza anche una tra le più grandi innovatrici del settore hi-tech. Sono stati appena scovati due nuovi brevetti che mostrano dei concept di smartphone innovativi che potrebbero essere destinati al mercato. Il più interessante è senza ombra di dubbio il brevetto che mostra uno smartphone con fotocamera modulare.
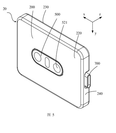
Le immagini pubblicate mostrano chiaramente una fotocamera rimovibile che si può staccare dal retro del dispositivo e funzionare in modo indipendente dal cellulare stesso. Il modulo fotocamera è dotato di un connettore USB-C, di un modulo NFC e delle connettività WiFi e Bluetooth. Naturalmente, per poter funzionare in modo indipendente, ha anche una batteria integrata.
La possibilità di rimuoverla permette di utilizzarla, ad esempio, per gli autoscatti o per i selfie, ma anche come action cam o per fotografare in situazioni scomode per un semplice smartphone. Il modulo di OPPO si può anche collegare alla porta USB-C dello smartphone. Una soluzione del genere apre gli orizzonti a diversi nuovi scenari di utilizzo che potrebbero rivoluzionare il mondo della fotografia sui dispositivi mobili.
OPPO ha brevettato anche uno smartphone pieghevole: un modello con un form factor simile a quello di Samsung Galaxy Z Flip. Il dispositivo si mostra con un display pieghevole a conchiglia grazie al quale riesce a dimezzare le sue dimensioni quando è piegato. Il brevetto depositato al WIPO mostra anche una cerniera in grado di stabilizzarsi in 4 diverse angolazioni. Il terminale non ha display esterni ma monta una tripla fotocamera posteriore posizionata orizzontalmente sulla scocca.






